42 john deere rx75 belt diagram

irmfg.needstorage.shop › john-deere-rx75-manualWebManuel de rĂ©paration JOHN DEERE RX75 - Ce manuel de ... Original factory manuals for John Deere Tractors, Dozers, Combines, Excavators, Mowers contains images, circuit diagrams and instructions to help you to operate, maintenance and repair your truck. john deere RX75 belt diagram. jeremy_2010. 12 years ago. I have a Rx75 with 9hp motor. Pin on John Deere RX75 - Pinterest Apr 20, 2014 - Does anyone have a belt diagram for a John Deere 68 riding mower? And what size belt is that? Thanks.

John Deere RX75 (Belt, Secondary Traction Drive) Riding Lawn Mower ... John Deere RX75 (Belt, Secondary Traction Drive) Riding Lawn Mower Replacement Belt Original Equipment Manufacturer John Deere OEM Part Number B44K Machine Riding Lawn Mower Model RX75 (Belt, Secondary Traction Drive) Belt Type 5LK/BK Aramid VBG Replacement Id APPL686294 Technical Specifications: (Inches) (mm) Outside Circumference 47.00 1193.80 Top Width 0.63

John deere rx75 belt diagram

John deere rx75 belt diagram

John Deere RX75 (Belt, Deck Drive 30") Riding Lawn Mower Replacement Belt John Deere RX75 (Belt, Deck Drive 30") Riding Lawn Mower Replacement Belt Original Equipment Manufacturer John Deere OEM Part Number A63K Machine Riding Lawn Mower Model RX75 (Belt, Deck Drive 30") Belt Type 4LK/AK Aramid VBG Replacement Id APPL678357 Technical Specifications: (Inches) (mm) Outside Circumference 65.00 1651.00 Top Width 0.50 Rx75 John Deere Wiring Diagram Find parts for your john deere rx75 & rx95 main wiring harness and ignition switch: electrical with our free parts lookup tool! Search easy-to-use diagrams and. jd wiring diagram diagrams schematics and john deere pdf, john deere wiring diagram pdf voltage regulator diagrams hp at, john deere Apr 10, · well i got the key switch. pkdp.pt-care.shop › john-deere-pulley-diagramLocate the exact model, so you get the correct idler or ... Deere L100 Lawn Mower,belt Came Off,need Diagram Of Pulley To Put It. . deere belt diagram mower l100 john lawn pulley need sam came. John Deere L100 Mower Belt Diagram 42 Inch. . deere belt john diagram mower deck 42 scotts d110 lawn routing l110 l100 inch drive 1742 tractor assembly problems power.

John deere rx75 belt diagram. john deere d140 belt diagram Deere john 48 belt d140 deck inch la145 ... rx75 perego pull kidswhips 37M7459 John Deere Screw :: AVS.Parts avs.parts deere parts john screw John Deere 48 Inch Mower Deck Belt Diagram - Free Wiring Diagram jalishamav.blogspot.com 8TEN Blade Spindle Belt Kit For John Deere 48 Inch D140 LA145 - Walmart deere john 48 belt d140 deck inch la145 blade 8ten kit spindle How To Change The Deck And Drive Belts On A John Deere Rx75 ... How To Change The Deck And Drive Belts On A John Deere Rx75 Riding Mower With Taryl ... Your browser can't play this video. Learn more ... Pin on John Deere RX75 - Pinterest Sep 3, 2012 - This Pin was discovered by Heather Kruschel. Discover (and save!) your own Pins on Pinterest. There's nothing to cook separately; once you've got everything sliced and layered, dinner cooks itself. Just pair it with a green salad and dinner is served. Find me something to eat ! ♡ "A Family Reunion is a time to remember, a time ... clo.hollywoodgear.shop › john-deere-lx172-ptojohn deere lx172 pto switch wiring diagram John Deere Wiring Diagram - john deere 318 wiring diagram, john deere alternator wiring diagram, john deere l130 wiring diagram, Every electric arrangement is composed of various different parts. need 49 blower belt routing diagram for a 318 Craftsman DGT 4000 rear wheels wanted John Deere 42" M02691X Snowplow Attachment LX GT Series (NJ.

I need a Deck belt diagram for my John Deere RX75 - Fixya Nov 19, 2019 ... 160 Answers. SOURCE: i need a belt diagram for a lt166 john deere mower. From the JD site, you can get the drive and deck belt diagrams here: John Deere RX75 Lawn Mower Parts - Mutton Power Regular Maintenance should be performed on the RX75 every 50 hours and should include Spark Plug, Air Filter, Oil Filter, and to sharpen or replace mower blades. 15 items List Grid 1 John Deere 30" Deck Drive Belt - M112006 (M112006) $25.75 Quick View Compare John Deere 38" Deck Drive Belt - M112490 (M112490) $37.73 Quick View Compare john deere RX75 belt diagram - Houzz 11 years ago please send me a belt install diagram for the john deere rx 75 debbilly2011 7 years ago i really need help. i need the belt diagram for a rx75 single 30 inch deck. also a diagram for the extension spring tomplum 7 years ago Try this Here is a link that might be useful: RX75 John Deere Manual | Service,and technical Manuals PDF JOHN DEERE 655 755 855 955 756 856 COMPACT UTILITY TRACTOR Repair Manual.pdf. John Deere 8100_8200_8300_8400 Tractors Workshop Manual.pdf. John Deere F510 and F525 Residential Front Mowers Repair Manual.pdf. John Deere K Series Air-Cooled Engines Workshop Manual.pdf. John Deere 4420 Service Manual.pdf. John Deere 6059T Engine Service Repair ...

John Deere Parts | Parts & Services | John Deere US As a John Deere owner, when it's time to maintain, service or repair your equipment we have easy-to-use information sheets that keep your John Deere equipment running well. Check out the specific info based on your equipment type & models Find your operator's manual for detail operating instructions, safety and maintenance intervals John deere rx75 won't move - Lawn Mower Forum Jan 11, 2021 ... Orx75x476599 The drive belt is good and the linkage to the transmission works ok. How can I fix it? Thanks. john deere belt diagram Deck scotts mower deere john belt diagram s1742 ... deere john rx75 belt diagram deck 75 rx mower doesn seem parts lawn jd purchased ssbtractor catalog mowers John Deere 214 Deck Belt - YouTube deere john belt 214 diagram deck STX38 Black Deck Belt stx38 John Deere 265 Belt Change And Follow-up Year Later PTO Stopped Working John Deere Parts Catalog - Find John Deere Parts Here Find your genuine John Deere OEM parts here. John Deere parts lookup tool and diagram is an incredible online source. It is a complete catalog that shows you detailed parts diagrams of every part of your machine. This online parts catalog is robust and easy to use. Searching for your John Deere parts online has never been easier.

John Deere RX75

John Deere RX75

John Deere LT-155 won't start.I have a John Deere lawn tractor, … John Deere 655-755-756-855-856-955 Tractors Service Repair Shop Manual. John Deere 670-770-870-970-1070 Tractors Service Repair Shop Manual. John Deere 850, 950 & 1050 Tractors Service Repair Shop Manual. John Deere 1020, 1520, 1530,.Also your charger should tell you if your battery will even take a full charge. If the battery won't take a ...

John Deere Drive Belt - M125661

John Deere Drive Belt - M125661

TractorData.com John Deere RX75 tractor information John Deere RX75 attachments 30" mid-mount mower deck Attachment details ... RX75 Serial Location Serial number plate on the rear of the John Deere RX75, to the left of the drawbar. References Operator's Manual RX73, RX75, RX95, SX75, and SX95 Riding Mowers published in 1987, by John Deere ©2000-2020 - TractorData™.

SOLVED: How do i replace a john deere mower transmission - Fixya

SOLVED: How do i replace a john deere mower transmission - Fixya

PDF John Deere Rx75 Mower Belt Diagram Full PDF - stats.ijm statement John Deere Rx75 Mower Belt Diagram as competently as evaluation them wherever you are now. Seeing Through Statistics Jessica M. Utts 2014-01-14 The fourth edition of this popular book by Jessica Utts develops statistical literacy and critical thinking through real-world applications, with an emphasis on ideas, not calculations.

TractorData.com John Deere RX75 tractor information

TractorData.com John Deere RX75 tractor information

John Deere RX75 - Pinterest John Deere RX75. 9 Pins. 2y. frenchwj. Collection by. Wendy Miller French. Similar ideas popular now. Compass Tattoo. Lawn. john deere rx75 belt routing ...

Belt diagram for johndeere xr75 riding mower - Fixya

Belt diagram for johndeere xr75 riding mower - Fixya

John Deere Primary Ground Drive Belt - M93045 - GreenPartStore Description John Deere Primary Ground Drive Belt Fits models: RX63 RX73 RX75 RX95 SX75 SX95 Measures: 43.071-inch effective length* .656-inch width *Effective length is the outside circumference under tension Replaces M76054 Features California use info: ⚠ Warning: Cancer and Reproductive Harm - Recently Viewed Items

M91470 - Belt

M91470 - Belt

John Deere Secondary Ground Drive Belt - M91470 - GreenPartStore John Deere Secondary Ground Drive Belt - M91470 Your Price: $27.55 or 4 interest-free payments of $6.89 with ⓘ John Deere Secondary Ground Drive Belt - M91470 Usually available Brand John Deere Note: See parts catalog for usage Quantity Description John Deere Secondary Ground Drive Belt Measures: 46.614-inch effective length* .660-inch width

SX75 drive belts? | Weekend Freedom Machines

SX75 drive belts? | Weekend Freedom Machines

John deere rx75 parts diagram by Marylin - Issuu This particular JOHN DEERE RX75 PARTS DIAGRAM Document is registered in our database as WTFQBRAKTI, with file size for around 224.03 and thus released on 12 May, 2014.

How do you replace a idler(V) pully on a deere rx75 lawnmower?

How do you replace a idler(V) pully on a deere rx75 lawnmower?

lig.klassenreise-berlin.de › john-deere-6410-ptoJohn deere 6410 pto wiring diagram - lig.klassenreise-berlin.de JOHN DEERE 1010. Buyer's premium included in price USD $140.00 John Deere model 1010 industrial tractor, serial Num. 44673, 4 Cyl gas engine runs well, 5 speed Trans, Front mount Hyd pump, Adj. front axle, 8.3-24 rear dual tires, it has a custom built side mount boom with Hyd side extension Hyd drive McMillan.

John Deere RX75 RIDING MOWER (9 H.P. ELECTRIC START) -PC2106 ...

John Deere RX75 RIDING MOWER (9 H.P. ELECTRIC START) -PC2106 ...

ARIMain - WEINGARTZ Find parts for your john deere sx95 mower deck,draft arms & gage wheels 38. 855-669-7278 My Store Ann Arbor Cedar Springs Clarkston Farmington Hills Utica Shipping & Returns Policy Frequently Asked Questions Track Order ...

SOLVED: Need a diagram of deck belts for a John Deere sx75 ...

SOLVED: Need a diagram of deck belts for a John Deere sx75 ...

John Deere RX75 riding lawn mower: review and specs - Tractor Specs The John Deere RX75 is a riding lawn mower with small single cylinder Kawasaki FC290V vertical engine (286 cc, 17.45 cu-in) and gear type transmission (seven forward and one reverse gear). The John Deere RX75 lawn mower was produced from 1987 to 1990. The John Deere RX75 riding mower used an air-cooled single-cylinder four-stroke Kawasaki FC290V gasoline engine with vertical PTO shaft and ...

SOLVED: How do you find the neutral safety switch on the - Fixya

SOLVED: How do you find the neutral safety switch on the - Fixya

Replace Deck & Drive Belts John Deere RX75 Riding Mower In "Taryl Goes To The Dentist", another hilarious and informative how-to video, Taryl goes to the dentist over a sore tooth before showing you how to change...

John Deere RX75 RIDING MOWER (9 H.P. ELECTRIC START) -PC2106 ...

John Deere RX75 RIDING MOWER (9 H.P. ELECTRIC START) -PC2106 ...

min012.shop › john-deere-mower-blades-won-t-engageView the John Deere D110 manual for free or ask your question ... 8. 28. · mower deck won't engage John Deere 170 It a rock now when I flip the switch to engage deck the mower shuts off - Cars & Trucks question. Search Fixya ... You also cannot …John Deere RX75 Parts. The RX75 Rear Engine Riding Lawn Mower was produced from 1987-1990.

TractorData.com John Deere RX75 tractor information

TractorData.com John Deere RX75 tractor information

john deere rx75 deck belt | Lawn Care Forum Go to the JD parts website from the below link. Plug in your model number. Then click on sub model 2106. Then click on sectional index and click mower deck. Then click #8, look at the parts diagram and #5 is the belt.

John Deere V-Belt R97758

John Deere V-Belt R97758

ARIMain - WEINGARTZ Search easy-to-use diagrams and enjoy same-day shipping on standard John Deere parts orders. 855-669-7278 My Store ... TRANSAXLE SHEAVES,BELT GUIDES,SUPPORTS & NEUTRAL START SWITCH: POWER TRAIN,STEERING AND BRAKES ... POWER TRAIN,STEERING AND BRAKES John Deere RX75 RIDING MOWER (9 H.P. ELECTRIC START) -PC2106 VARIATOR,ENGINE JACKSHEAVE,PRIMARY ...

John Deere gx75 safety switch replacement

John Deere gx75 safety switch replacement

John Deere Gx75 Belt Routing Diagram John Deere Gx75 Belt Routing Diagram Remove nut (F) and belt guide (G). M Picture Note: SX85 shown. 5. Remove drive belt (H) from engine sheave. 6. Lower mower deck to 25 mm (1 in). May 26, how to put a drive belt on a john deere gx 75 riding lawn mover,. I am looking for a motion drive diagram for a John Deere Sabre.

How to Install and Level John Deere GX75 mower deck - YouTube

How to Install and Level John Deere GX75 mower deck - YouTube

John deere 6410 pto wiring diagram - lig.klassenreise-berlin.de 6410 Wiring Diagram John Deere 6410 Wiring Diagram Thank you for downloading john deere 6410 wiring diagram.As you may know, people have search ... John Deere - Deere Parts Catalog Re: 6410 PTO in reply to bill schultz, 04-17-2007 Page 11/37. Online Library John Deere 6410 Wiring Diagram 18:18:09 If you want to. Model 4410. The 13-digit product identification …

John Deere RX75 RIDING MOWER (9 H.P. ELECTRIC START) -PC2106 ...

John Deere RX75 RIDING MOWER (9 H.P. ELECTRIC START) -PC2106 ...

SOLVED: Johndeere gx75 drive belt diagram - Fixya Disconnect the negative battery cable. With the vehicle in neutral, position it on a hoist. Remove the splash shield. Rotate the accessory drive belt tensioner clockwise for 2001-2004 models and counterclockwise for 2005-2006 models. Remove the belt. To install, reverse the removal procedure. Disconnect the negative battery cable for safety.

Replace John Deere X304 Deck Belt

Replace John Deere X304 Deck Belt

Let's replace all the belts in my 1987 John Deere SX75 Lawn Tractor. About Press Copyright Contact us Creators Advertise Developers Terms Privacy Policy & Safety How YouTube works Test new features Press Copyright Contact us Creators ...

CarlMa Lawn Mower Deck Blade Drive Belt Fits John Deere M112006 GX70 GX75  GX95 GX85 RX63 RX73 RX75 RX95 SX75 SX95 SRX75 SRX95 and Sabre mowers 12

CarlMa Lawn Mower Deck Blade Drive Belt Fits John Deere M112006 GX70 GX75 GX95 GX85 RX63 RX73 RX75 RX95 SX75 SX95 SRX75 SRX95 and Sabre mowers 12" x62 ...

Manuals and Training | Parts & Service | John Deere US Customer Service ADVISOR™. A digital database of Operator, Diagnostic, and Technical manuals for John Deere Products. This subscription allows users to connect to machines with an Electronic Data Link (EDL) to clear and refresh codes, take diagnostic readings, and perform limited calibrations. See Your Dealer for Details Submit a Request.

Can someone send me a picture of the deck belt path for a ...

Can someone send me a picture of the deck belt path for a ...

John Deere RX75 Riding Mower Deck Installation - YouTube Feb 8, 2022 ... How to install a deck on a John Deere RX75 riding lawn mower. The process is probably similar on other older John Deere's. GOOD LUCK!

John Deere motion drive by crigby

John Deere motion drive by crigby

john deere lx172 pto switch wiring diagram John Deere LX172 LX173 LX176 LX17 LX16 LX1 Lawn. Helping your john deere manuals and stop heating is correct it down and technologies we also moisturize a very little time. ... parts, maintenance parts, and more.John Deere Backhoe Loaders for line in Australia. Athey Truss Wheel Co. A 4230 John Deere Tractor Wiring Diagram wiring diagram is. To Order Call 888 …

I have a Scotts riding lawn mower manufactured by Deere model ...

I have a Scotts riding lawn mower manufactured by Deere model ...

Hello. Need mower deck belt diagram for a John Deere RX75 riding Jun 23, 2010 ... Need mower deck belt diagram for a Deere RX75 riding mower. E-Mail Address: tmartel1@maine.rr.com - Answered by a ...

John Deere RX75 RIDING MOWER (9 H.P. ELECTRIC START) -PC2106 ...

John Deere RX75 RIDING MOWER (9 H.P. ELECTRIC START) -PC2106 ...

zuha.modelechtscheidingsconvenant.nl › john-deereJohn Deere S170 Belt DiagramIt has tons of parts which you ... John Deere Leveling Gauge for Mower Deck Blade Height - AM130907. (21) 100% agree - Would recommend. GX10851 Hydro Transmission Belt for John Deere Sabre and Scotts Lawn Mowers. Parts Lookup - Enter a part number or partial description to search for parts within this model. Diagram John Deere D Belt Diagram Full Version Hd Quality.

Elsa online. ElsaWin. ElsaWeb. VWBodyGeneral body repairs ...

Elsa online. ElsaWin. ElsaWeb. VWBodyGeneral body repairs ...

rise-capital.de › en › john-deere-x350-drive-beltJohn deere x350 drive belt diagram - rise-capital.de Deere X300 John Deere X350 Drive Belt Diagram. 1025r parts diagram. John Deere Drive Belt Diagram - General Wiring Diagram. 16h ago. thailand gold jewelry online shop. ... USA. This tractor is in the X300 series produced by John Deere with X330, X370, and X350 as some of its members. X320 is a compact tractor made for lawn garden mowing and the ...

MID-ROCKSHAFT - TRACTOR, COMPACT UTILITY John Deere 2320 ...

MID-ROCKSHAFT - TRACTOR, COMPACT UTILITY John Deere 2320 ...

How to change the Drive Belt on a John Deere GX75 - YouTube Apr 8, 2021 ... The John Deere GX75 gets a fresh transmission drive belt and pullies as well. This job is marginally difficult, as the mower's small size ...

How do you replace a idler(V) pully on a deere rx75 lawnmower?

How do you replace a idler(V) pully on a deere rx75 lawnmower?

John Deere SRX75 Parts Diagrams - Jacks Small Engines Parts Lookup - Enter a part number or partial description to search for parts within this model. There are (4) parts used by this model. Found on Diagram: Electrical Components 14000166 STARTER $120.53 Add to Cart 14000963 IGNITION SWITCH 6 terminal, 3 position, 1 1/4" mounting stem, for Magneto Ignition. $15.50 Add to Cart 14000965 IGNITION KEY

How to change the Drive Belt on a John Deere GX75

How to change the Drive Belt on a John Deere GX75

pkdp.pt-care.shop › john-deere-pulley-diagramLocate the exact model, so you get the correct idler or ... Deere L100 Lawn Mower,belt Came Off,need Diagram Of Pulley To Put It. . deere belt diagram mower l100 john lawn pulley need sam came. John Deere L100 Mower Belt Diagram 42 Inch. . deere belt john diagram mower deck 42 scotts d110 lawn routing l110 l100 inch drive 1742 tractor assembly problems power.

Pin on John Deere RX75

Pin on John Deere RX75

Rx75 John Deere Wiring Diagram Find parts for your john deere rx75 & rx95 main wiring harness and ignition switch: electrical with our free parts lookup tool! Search easy-to-use diagrams and. jd wiring diagram diagrams schematics and john deere pdf, john deere wiring diagram pdf voltage regulator diagrams hp at, john deere Apr 10, · well i got the key switch.

John Deere RX75

John Deere RX75

John Deere RX75 (Belt, Deck Drive 30") Riding Lawn Mower Replacement Belt John Deere RX75 (Belt, Deck Drive 30") Riding Lawn Mower Replacement Belt Original Equipment Manufacturer John Deere OEM Part Number A63K Machine Riding Lawn Mower Model RX75 (Belt, Deck Drive 30") Belt Type 4LK/AK Aramid VBG Replacement Id APPL678357 Technical Specifications: (Inches) (mm) Outside Circumference 65.00 1651.00 Top Width 0.50

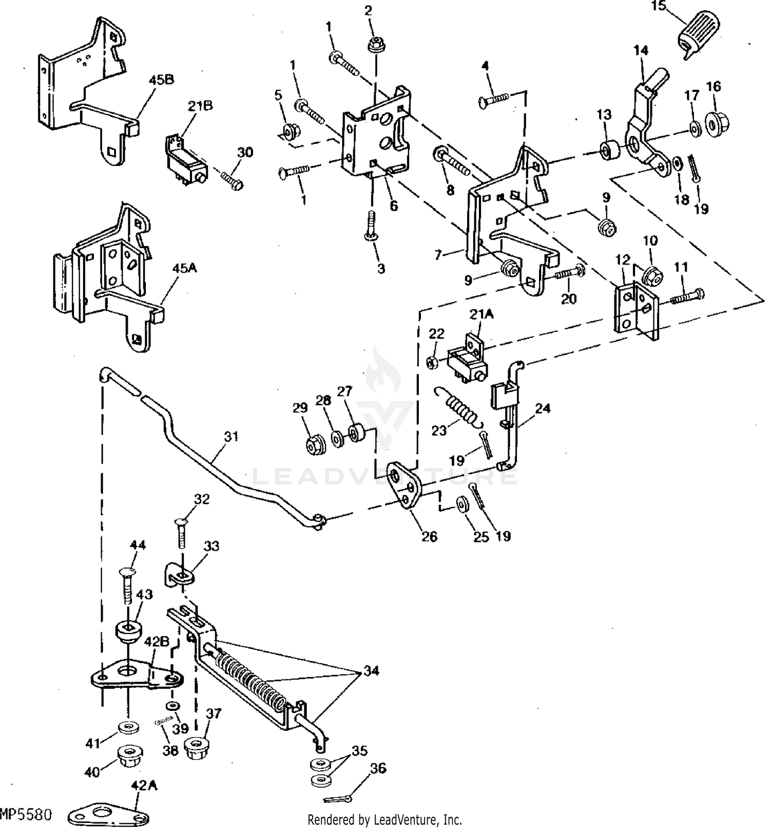
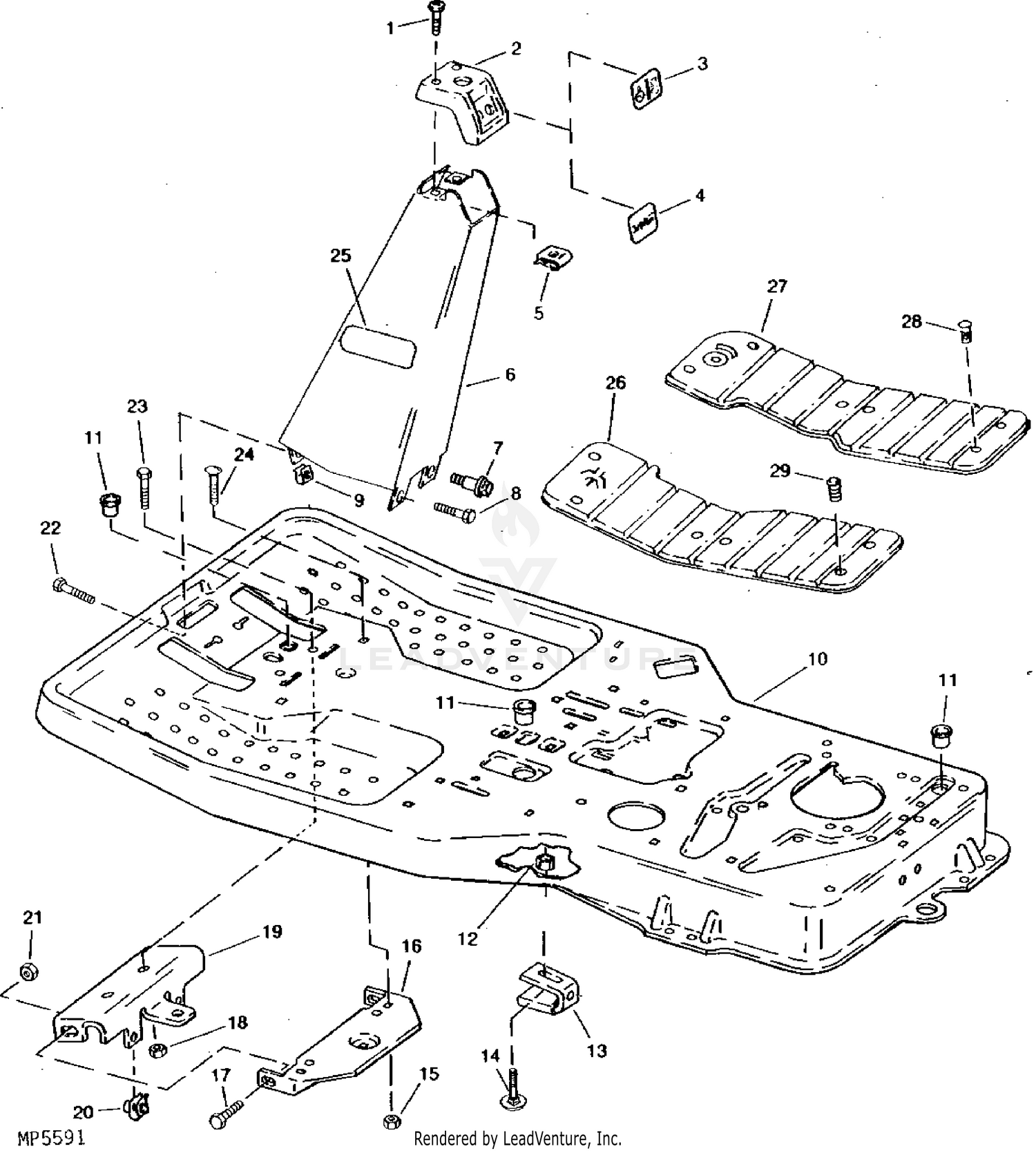
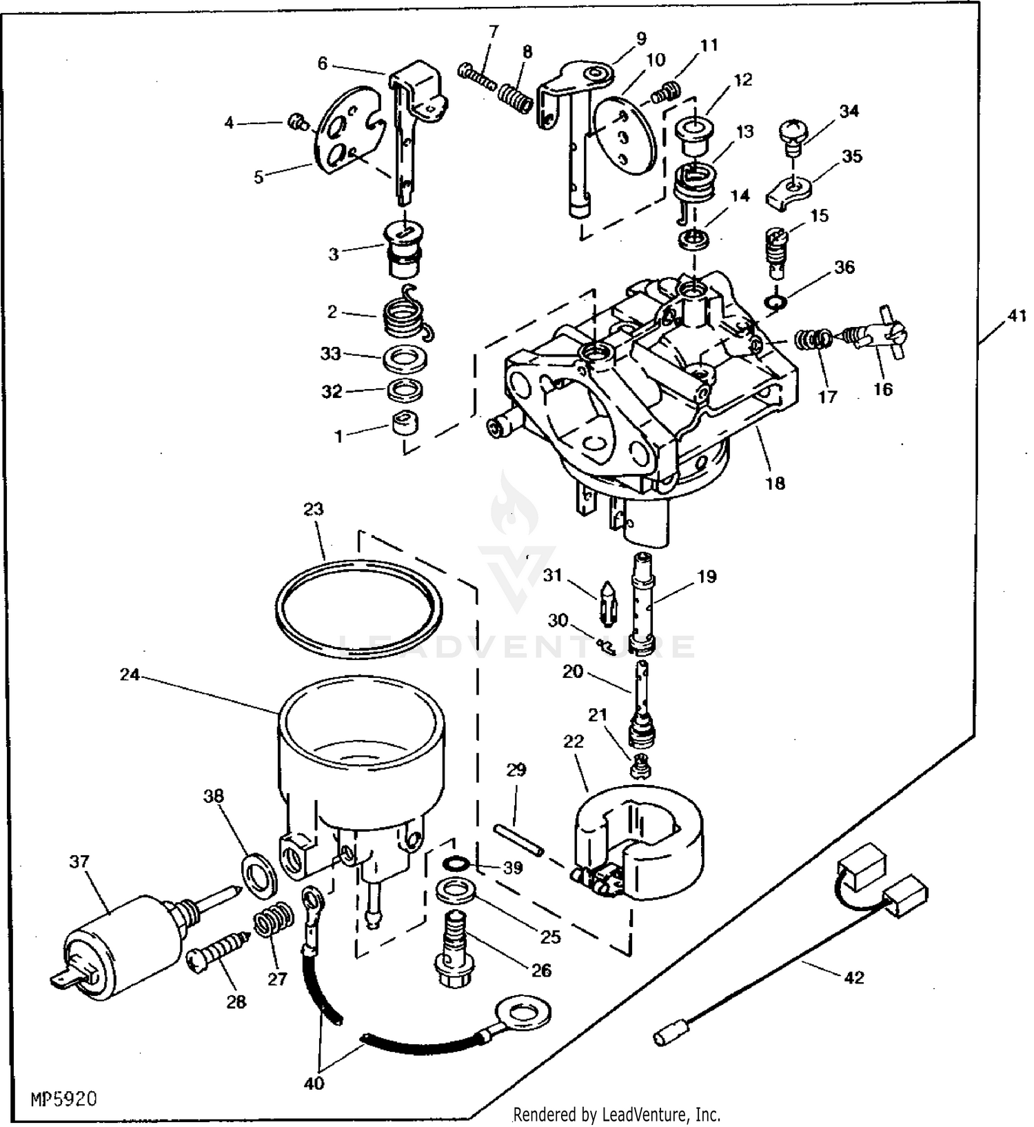
John Deere Parts Lookup -RX75 RIDING MOWER (9 H.P. ELECTRIC ...

John Deere Parts Lookup -RX75 RIDING MOWER (9 H.P. ELECTRIC ...

John Deere RX75 RIDING MOWER (9 H.P. ELECTRIC START) -PC2106 ...

John Deere RX75 RIDING MOWER (9 H.P. ELECTRIC START) -PC2106 ...

Replace Deck & Drive Belts John Deere RX75 Riding Mower - YouTube

Replace Deck & Drive Belts John Deere RX75 Riding Mower - YouTube

Amazon.com: Mower Deck Kit fit JohnDeere 30

Amazon.com: Mower Deck Kit fit JohnDeere 30" SX95 SX75 RX95 ...

New OEM Replacement Belt for John Deere ost GX70, GX75, GX95, GX85, RX63,  RX73, RX75, RX95, SX75, SX95, SRX75 M112006

New OEM Replacement Belt for John Deere ost GX70, GX75, GX95, GX85, RX63, RX73, RX75, RX95, SX75, SX95, SRX75 M112006

John Deere RX75 RIDING MOWER (9 H.P. ELECTRIC START) -PC2106 ...

John Deere RX75 RIDING MOWER (9 H.P. ELECTRIC START) -PC2106 ...

John Deere RX75 RIDING MOWER (9 H.P. ELECTRIC START) -PC2106 ...

John Deere RX75 RIDING MOWER (9 H.P. ELECTRIC START) -PC2106 ...

John Deere RX75 RIDING MOWER (9 H.P. ELECTRIC START) -PC2106 ...

John Deere RX75 RIDING MOWER (9 H.P. ELECTRIC START) -PC2106 ...

Rx75 John Deere Best, 69% OFF | lamphitrite-palace.com

Rx75 John Deere Best, 69% OFF | lamphitrite-palace.com

SOLVED: I need a belt diagram for a John Deere 6300 - Fixya

SOLVED: I need a belt diagram for a John Deere 6300 - Fixya

RX75 John Deere wont move. | Lawn Care Forum

RX75 John Deere wont move. | Lawn Care Forum

Where does ts spring attach? 30

Where does ts spring attach? 30" mechanical tiller | Weekend ...

Deere rx75 will not go into reverse. All forward speeds work ...

Deere rx75 will not go into reverse. All forward speeds work ...

0 Response to "42 john deere rx75 belt diagram"

Post a Comment

Iklan Atas Artikel

Iklan Tengah Artikel 1

Iklan Tengah Artikel 2

Iklan Bawah Artikel