40 mercruiser bravo 1 parts diagram

Genuine Mercury & Mercruiser parts. Lookup Mercury Parts Diagrams To use this parts lookup page you'll need to know what engine/drive/transom you have, i.e., 350 MAG MPI, 8.1L, 496 HO, Bravo 1 drive, 350 Verado, etc. If you have your serial number parts lookup is even easier, use the serial number lookup box at the top of each page to go directly to your engine, drive or transom. Mercruiser Bravo 3 Outdrive Manual - alumni.carlow.edu Description: Mercruiser Bravo One Oil Reservoir Components (Round Oil Bottle) Parts regarding Bravo 1 Outdrive Parts Diagram, image size 750 X 854 px, and to view image details please click the image.. Actually, we also have been noticed that bravo 1 outdrive parts diagram is being just about the most popular topic at this moment. So

Mercruiser Bravo One SEI outdrive parts drawings Mercruiser Bravo One SEI outdrive parts drawings. Co-Manufacturer and distributor of GLM Marine aftermarket outdrives upper-lower stern drive parts drawings. Last updated on 5/13/2022, 2:32:57 AM.

Mercruiser bravo 1 parts diagram

Mercruiser bravo 1 parts diagram

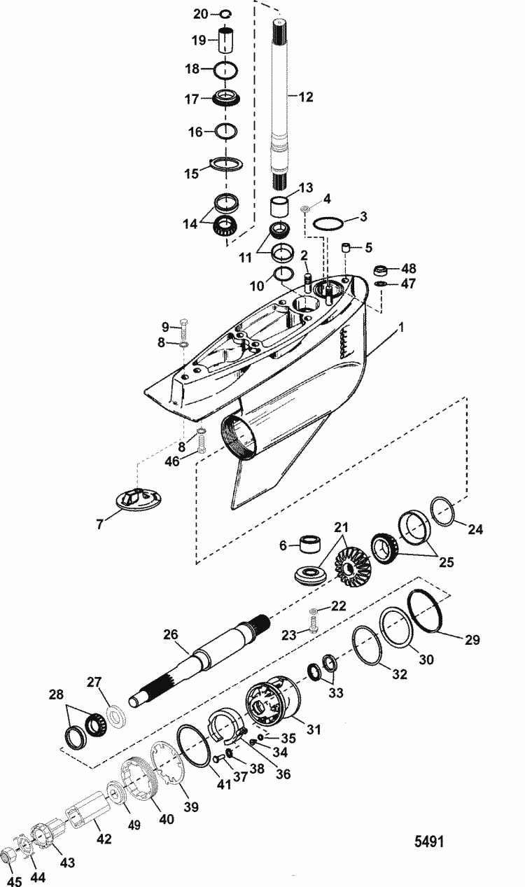
Bravo One Replacement Parts Library - CP Performance Bravo One Replacement Parts - Bravo One Replacement Parts Library. Back to Parent Category ... Bravo 1 Magnesium Anode Kit Mercruiser 888757Q02. Kit Includes: (2) Trim Cylinder Anode (1) Driveshaft Housing Anode (1) Anode Plate (1) Bearing Carrier Anode; Your Price: $90.99 . MerCruiser Bravo One Drive Unit Chart Parts - Marine Engine View diagram and parts list below. Each product listed is an OEM or aftermarket equivalent part. [ Example ] Reference numbers in this diagram can be found in a light blue row below — scroll down to order. Each product listed is an OEM or aftermarket equivalent part. [ Example ] Installation Drawings - Filter | Mercury Marine TDI 4.2L V-8 Sterndrive 2013-2017. 383 MAG Bravo 4V Installation Drawing 2013-2014. 8.1L Horizon V-Drive Installation Drawing 2013-2014. 2.0L Sterndrive 2014-2017. TDI 3.0L V-6 Inboard 45 Trans No Angle 2014-2017. TDI 3.0L V-6 Inboard 63 Trans No Angle 2014-2017. 540 MAG Bravo 4V Installation Drawing 2014-2014.

Mercruiser bravo 1 parts diagram. Bravo One Parts, Mercruiser Parts, Sterndrive Information, tools ... Mercruiser produced several models of sterndrives before the Bravo One was introduced. These include the common "R" sterndrive, 888 sterndrive, 898 sterndrive, I,MR and Alpha One, as well as others. The Bravo One is a stronger design over the Alpha One or Alpha Gen II. CP Performance - Bravo One Replacement Parts Bravo One Replacement Parts. Need Help? Call Us: 1-800-225-9871. Outside the USA? Call 707-585-9871 MerCruiser Bravo One Universal Joint & Shift Components Parts View diagram and parts list below. Each product listed is an OEM or aftermarket equivalent part. [ Example ] Reference numbers in this diagram can be found in a light blue row below — scroll down to order. Each product listed is an OEM or aftermarket equivalent part. [ Example ] MerCruiser Bravo One Trim Cylinders & Hydraulic Hoses Parts Reference numbers in this diagram can be found in a light blue row below — scroll down to order. Each product listed is an OEM or aftermarket equivalent part. [ Example ] Revise Search: All Models > Bravo One > 0M100001 - 0W249999 > Trim Cylinders & Hydraulic Hoses « Previous Next »

MerCruiser Bravo One Transom Assembly Chart Parts - Marine Engine Parts for MerCruiser Bravo One Transom Assembly Chart. Revise Search: ... No parts diagram available. # 6-6911002TP: TRANSOM ASSEMBLY, Bravo (SEACORE) (1 required per assembly) 6-6911002TP - TRANSOM ASSEMBLY [ More info] Unavailable # 6-6311002NZ: TRANSOM ASSEMBLY, Magnum (1 required per assembly) (All - Except 496 and Digital Throttle/Shift) ... Bravo Transom Assembly Diagram -, TRANSOM ASSEMBLY, BRAVO (SEACORE) *{Use With 2 Wire Trim Sender}*.Mercruiser Bravo 1 Diagram ~ here you are at our site, this is images about mercruiser bravo 1 diagram posted by Maria Rodriquez in Mercruiser category on Nov 15, You can also find other images like wiring diagram, parts diagram, replacement parts, electrical diagram, repair ... Mercury Parts Diagrams - NuWave Marine MerCruiser Bravo 1 Outdrive; MerCruiser Bravo 2 Outdrive; MerCruiser Bravo 3 Outdrive; MerCruiser Anode Kits; O & B & I & O Cooling & Water Pumps; MerCruiser Drive & Gearcase Parts; Gear Lube; ... Mercury Parts Diagrams ×. Subscribe to our newsletter. Email Address. 685 S Evergreen Ave, Woodbury Heights, NJ 08097 ... MerCruiser Bravo One Trim Pump Assembly (Complete) Parts View diagram and parts list below. Each product listed is an OEM or aftermarket equivalent part. [ Example ] Reference numbers in this diagram can be found in a light blue row below — scroll down to order. Each product listed is an OEM or aftermarket equivalent part. [ Example ]

MerCruiser Bravo One Engine & Stern Drive by All Engine Parts & ... Find MerCruiser Bravo One Engine & Stern Drive by All Engine Parts & Diagrams Revise Search: All Models > Bravo One > 0M100001 - 0W249999 All Engine Parts & Diagrams Select engine section to view parts diagram & parts list. Pump / Motor - Top Mount Reservoir (Design II - 14336A25) Bell Housing Compact Hydralic Steering Actuator Continuity Kit Genuine Mercury & Mercruiser parts. Bravo 3 Parts Lookup BRAVO THREE - 0W250000 & Up Bravo Three Drive Parts Lookup Use our OEM parts lookup with detailed parts diagrams for your Bravo 3 sterndrive serial number 0w250000 and up. Find genuine Mercury Marine Bravo Three parts easily by category or type in the name of the part you're looking for in the " search for part name here" box. MerCruiser Bravo One Engine & Stern Drive by Serial Number Range We offer the largest selection of old stock, Quicksilver original parts and quality discount aftermarket parts by Sierra Marine, Mallory Marine, Barr and Osco. Choosing the Correct Parts. Your Mercruiser serial number is the key to finding the correct parts for your motor or outdrive. Serial numbers are located on the engine and the outdrive. Mercruiser Sterndrive Outdrives OEM Parts Diagram for GEAR ... - boats Buy OEM Parts for Mercruiser Sterndrive Outdrives GEAR HOUSING(BRAVO ONE) Diagram . My Garage . Order Help. Check Order Status. Help & Info; Contact Us; Sign In. Sign In ... (BRAVO ONE) Diagram. Check Availability. Select your address # Description Price Qty-SEAL KIT 76868A04 Ships in 8 to 13 days. $134.92 $124.93 Add -ANODE KIT Aluminum (Bravo I)

29 Mercruiser Bravo 3 Parts Diagram - Free Wiring Diagram Source

29 Mercruiser Bravo 3 Parts Diagram - Free Wiring Diagram Source

Genuine Mercury & Mercruiser parts. BRAVO ONE Look up your Bravo 1 serial number range to view detailed parts diagrams, notes, part numbers and order at a discont online. Add parts to your cart for a shipping estimate. All parts are genuine OEM Mercruiser parts. BRAVO DRIVES - 0B664190 THRU 0F729999 BRAVO STERNDRIVES - 0F730000 THRU 0M100000

30 Mercruiser Bravo 3 Parts Diagram - Wiring Diagram List

30 Mercruiser Bravo 3 Parts Diagram - Wiring Diagram List

MerCruiser Bravo 1 Outdrive - NuWave Marine Simrek MerCruiser bravo Drive Shower $229.95 Mercury Marine / Quicksilver OEM MerCruiser Bravo 1/2/3 Lower Drive Shift Cable Kit 865437A02 8M0176523 $170.58 $146.21 On Sale Mercury Marine / Quicksilver OEM MerCruiser Bravo 3 Lower Unit 1.81 2.00 2.20 Outdrive 8866G09 8M0086825 8M0046738 $5,392.86 $4,999.00 Mercury Marine / Quicksilver

www.iFourWinns.com • View topic - New to Four Winns / 02 268 Vista

www.iFourWinns.com • View topic - New to Four Winns / 02 268 Vista

Drives Bravo One® | Mercury Marine When Speed Matters Extended-length torpedos reduce drag and a deeper skeg provides a large rudder area for excellent steering response at any speed. Refined and well-mannered with best-in-class shifting. Intended for single, twin, and triple applications for boats that go over 100 mph, gas engines up to 600hp and diesel engines up to 370hp. Bravo One®, Bravo One X®, Bravo One XR® for gas ...

MerCruiser Bravo One Power Steering Actuator Parts

MerCruiser Bravo One Power Steering Actuator Parts

Mercruiser Sterndrive Parts | Alpha | Bravo | PerfProTech.com Bravo 1X Sterndrives Diagrams (Late Models) BRAVO 3X OUTDRIVES Spiral Bevel Gears Cone Clutch Multiple exhausting Breakaway Shaft Coupling To view the Mercruiser Replacement Sterndrive Product Lineup select this link ....Sterndrives Complete Alpha Gen1 & Gen2 Higher grade alloy for gears Heavy Duty U-joints Stationary dock testing on all bearings

Marine Parts Plus Mercruiser Serial BRAVO THREE 880951002 11210-60

Marine Parts Plus Mercruiser Serial BRAVO THREE 880951002 11210-60

MerCruiser Parts | MerCruiser Engines | SternDrives | Diagrams The ability to shop online for either Marine Engine Parts or Boat Motors has completely changed the world of boating. Just 15 years ago almost all boat owners were taking their boats into the local MerCruiser Dealership when replacing a MerCruiser Alpha 1 water pump impeller or to buy engine parts for their MerCruiser 3.0 motor.

Mercruiser Bravo 3 Parts Diagram - Free Wiring Diagram

Mercruiser Bravo 3 Parts Diagram - Free Wiring Diagram

Bravo Transom Assembly Parts - NuWave Marine Mercury Parts Diagrams; Make a Parts Request; Start a Return; Earn Rewards; Schedule Service; Contact Us; Careers ; Shipping Policies; New Jersey Store; Policies; Boat Sales; ... OEM MerCruiser Alpha Gen 1 & 2 Bravo 1 2 3 Exhaust bellows bellow 18654A1 SS to 8M0124227 Bell housing exhaust bellows 8M0123227 is for use on MerCruiser MC-I, MR ...

MerCruiser Bravo Two Gear Housing (Brave One) Parts

MerCruiser Bravo Two Gear Housing (Brave One) Parts

Bravo One Replacement Parts Library - Hardin Marine Bravo One Replacement Parts - Bravo One Replacement Parts Library. Back to Parent Category ... Bravo 1 Magnesium Anode Kit Mercruiser 888757Q02. Kit Includes: (2) Trim Cylinder Anode (1) Driveshaft Housing Anode (1) Anode Plate (1) Bearing Carrier Anode; Your Price: $90.99 .

MerCruiser Bravo Three Driveshaft Housing & Drive Gears (Diesel Engine ...

MerCruiser Bravo Three Driveshaft Housing & Drive Gears (Diesel Engine ...

Installation Drawings - Filter | Mercury Marine TDI 4.2L V-8 Sterndrive 2013-2017. 383 MAG Bravo 4V Installation Drawing 2013-2014. 8.1L Horizon V-Drive Installation Drawing 2013-2014. 2.0L Sterndrive 2014-2017. TDI 3.0L V-6 Inboard 45 Trans No Angle 2014-2017. TDI 3.0L V-6 Inboard 63 Trans No Angle 2014-2017. 540 MAG Bravo 4V Installation Drawing 2014-2014.

MerCruiser 4.3L MPI Alpha / Bravo Standard Cooling System (Easy Drain ...

MerCruiser 4.3L MPI Alpha / Bravo Standard Cooling System (Easy Drain ...

MerCruiser Bravo One Drive Unit Chart Parts - Marine Engine View diagram and parts list below. Each product listed is an OEM or aftermarket equivalent part. [ Example ] Reference numbers in this diagram can be found in a light blue row below — scroll down to order. Each product listed is an OEM or aftermarket equivalent part. [ Example ]

MerCruiser Bravo One Gimbal Housing Parts

MerCruiser Bravo One Gimbal Housing Parts

Bravo One Replacement Parts Library - CP Performance Bravo One Replacement Parts - Bravo One Replacement Parts Library. Back to Parent Category ... Bravo 1 Magnesium Anode Kit Mercruiser 888757Q02. Kit Includes: (2) Trim Cylinder Anode (1) Driveshaft Housing Anode (1) Anode Plate (1) Bearing Carrier Anode; Your Price: $90.99 .

MerCruiser Alpha One (Gen. II) 1998 & Up Hydraulic Pump & Bracket Parts

MerCruiser Alpha One (Gen. II) 1998 & Up Hydraulic Pump & Bracket Parts

Marine Parts Plus Mercruiser Serial BRAVO X THREE 891748001 11296-202

Marine Parts Plus Mercruiser Serial BRAVO X THREE 891748001 11296-202

MERCRUISER - BRAVO THREE - GEAR HOUSING(BRAVO ONE) | PerfProTech.com

MERCRUISER - BRAVO THREE - GEAR HOUSING(BRAVO ONE) | PerfProTech.com

Mercruiser Sterndrive - Alpha I (1972-1991) - New Aftermarket Parts ...

Mercruiser Sterndrive - Alpha I (1972-1991) - New Aftermarket Parts ...

MerCruiser 502 Mag. MPI Bravo (Gen. VI) GM 502 V-8 Wiring Harness ...

MerCruiser 502 Mag. MPI Bravo (Gen. VI) GM 502 V-8 Wiring Harness ...

0 Response to "40 mercruiser bravo 1 parts diagram"

Post a Comment

Iklan Atas Artikel

Iklan Tengah Artikel 1

Iklan Tengah Artikel 2

Iklan Bawah Artikel