37 craftsman lt2000 wiring diagram

Craftsman Lt1000 Wiring Diagram - Wiring Sample Husqvarna fuel gas tank 532184900 for craftsman t1000 lt1000 lt2000 riding mower. To check out a wiring diagram first you need to know exactly what essential elements are consisted of in a wiring diagram and which pictorial symbols are utilized to represent them. Craftsman lt1000 wiring diagram wiring library craftsman model 917 wiring diagram. Simple 4 Wire Alternator Wiring Diagram - U Wiring Craftsman Lt2000 Wiring Diagram Unique. Must reverse the poles on the ammeter. The electricity source is connected to the 3-way switch first. On the wiring diagram above we have. Two-wire cable as an electricity source. Elements battery 6 ga cable isolator solenoid relay 6 ga cable deep-cycle battery 10 ga cable fuse block 16 ga cables accessories.

wirings-diagram.com › craftsman-lt2000-wiring-diagramCraftsman Lt2000 Wiring Diagram - Wirings Diagram Craftsman Lt2000 Wiring Diagram - 2011 craftsman lt2000 wiring diagram, craftsman lt2000 electrical diagram, craftsman lt2000 solenoid wiring diagram, Every electric arrangement consists of various unique components. Each component ought to be placed and linked to different parts in particular manner. Otherwise, the structure won't work as it should be.

Craftsman lt2000 wiring diagram

Craftsman lt2000 wiring diagram

Craftsman Lt2000 Mower Drive Belt Diagram - Diagram Niche ... Mower deck craftsman lt2000 diagram belt riding 247 42 drive mtd lawn sears yardman murray diagrams engine lt1000 wiring number. I need the drivebelt routing for white outdoor 42 mower. These craftsman lt 1000 parts are essential to have for the goals that all people may have when getting a quality mower ready. Wiring Diagram For Craftsman Riding Mower - Sears LTA Riding Mower Lawn Tractors 46-inch Deck Belt 1/2" x 108.3" for Cub Cadet/Troy-Bilt/Craftsman 954-05022A, XT1 XT2 LT46, LT46. 0. Sold by GrowKart. $37.95. Craftsman Lt1000 Wiring Diagram - Wiring Diagram Craftsman Model 917271910 Lawn, Tractor Genuine Parts - Craftsman Lt1000 Wiring Diagram. Wiring Diagram contains several comprehensive illustrations that present the connection of various items. It includes instructions and diagrams for different types of wiring strategies and other things like lights, windows, etc.

Craftsman lt2000 wiring diagram. Wiring Diagram For Craftsman Lt1000 Lawn Tractor - Wiring ... Starter Solenoid Wiring Diagram From Battery To Craftsman Riding Mower Ifixit. Craftsman Lt1000 Deck Belt Size Best Up To 69 Off Www Liquats Com. Solved Craftsman Lawn Tractor Won T Start Riding Mower Ifixit. Craftsman 917 273811 Owner S Manual Pdf Manualslib. Craftsman Lt2000 Wiring Diagram - Wiring Diagram And ... Description: Craftsman Lt200 Wiring Diagram Lt1000 Wiring Diagram Wiring in Craftsman Lt2000 Wiring Diagram, image size 620 X 700 px, and to view image details please click the image.. Here is a picture gallery about craftsman lt2000 wiring diagram complete with the description of the image, please find the image you need. Electrical schematics for 247.288852 LT2000 tractor. Old ... Get shopping advice from experts, friends and the community! Electrical schematics for 247.288852 LT2000 tractor. Old tractor had it in the O/M. New manual does not include. Basically, I have brake on, and PTO disengaged - but when i get off - it now kills the tractor. Bad Parking switch? Thanks! wiring-diagram.net › craftsman-lt2000-lawn-mowerCraftsman Lt2000 Lawn Mower Starter Solenoid ... - Wiring Diagram Jan 30, 2022 · Craftsman Lt2000 Lawn Mower Starter Solenoid Diagram – Wiring Diagram is the graphical depiction of a intricate electric circuit. It is really easy to draw a wiring diagram; you simply need to have a good comprehension on different kinds of wiring and also their objectives.

Belt Diagram For A Craftsman Lt2000 - Diagram Niche Ideas I was given a craftsman lt 2000 with a 17hp kohler engine. Need a belt drive diagram for a 2004 craftsman lt 2000 riding lawn mower. I have over 1 acre of bahia and various weeds that must be mowed weekly or it can get out of control. The craftsman lt2000 information resource from tractorbynet.com. 2003 dodge ram wiring diagram. 2020cadillac.com › craftsman-lt2000-wiring-diagramCraftsman Lt2000 Wiring Diagram - Cadician's Blog Mar 05, 2020 · Craftsman Lt2000 Wiring Diagram – Allove – Craftsman Lt2000 Wiring Diagram. Wiring diagram also offers beneficial ideas for tasks that might need some added tools. This book even includes recommendations for extra materials that you might need in order to finish your assignments. It’ll be able to provide you with extra tools like ... Craftsman Lt2000 Deck Parts Diagram - craftsart.net Craftsman Lt2000 Deck Diagram Diagram Niche Ideas. 5 hours ago Diagramonlinesources.netlify.app Show details . Craftsman lt2000 deck diagram.Find great deals on ebay for craftsman lt2000 deck.Craftsman lt2000 parts diagram lt 2000 parts view or print the sears craftsman lt2000 parts list. Shovelhead photos and wiring diagrams image by jim hayes. Oem warranty repair part for … Craftsman LT2000 Parts Diagram Craftsman LT2000 Parts Diagram LT 2000 Parts View or print the Sears Craftsman LT2000 Parts List. The LT2000 model was sold by Sears Company under the brand of Craftsman for many years. If you need the Sears Craftsman LT2000 Parts List, we have provided it below. Click here to view LT 2000 Parts Listing View the Craftsman LT 2000 Manual

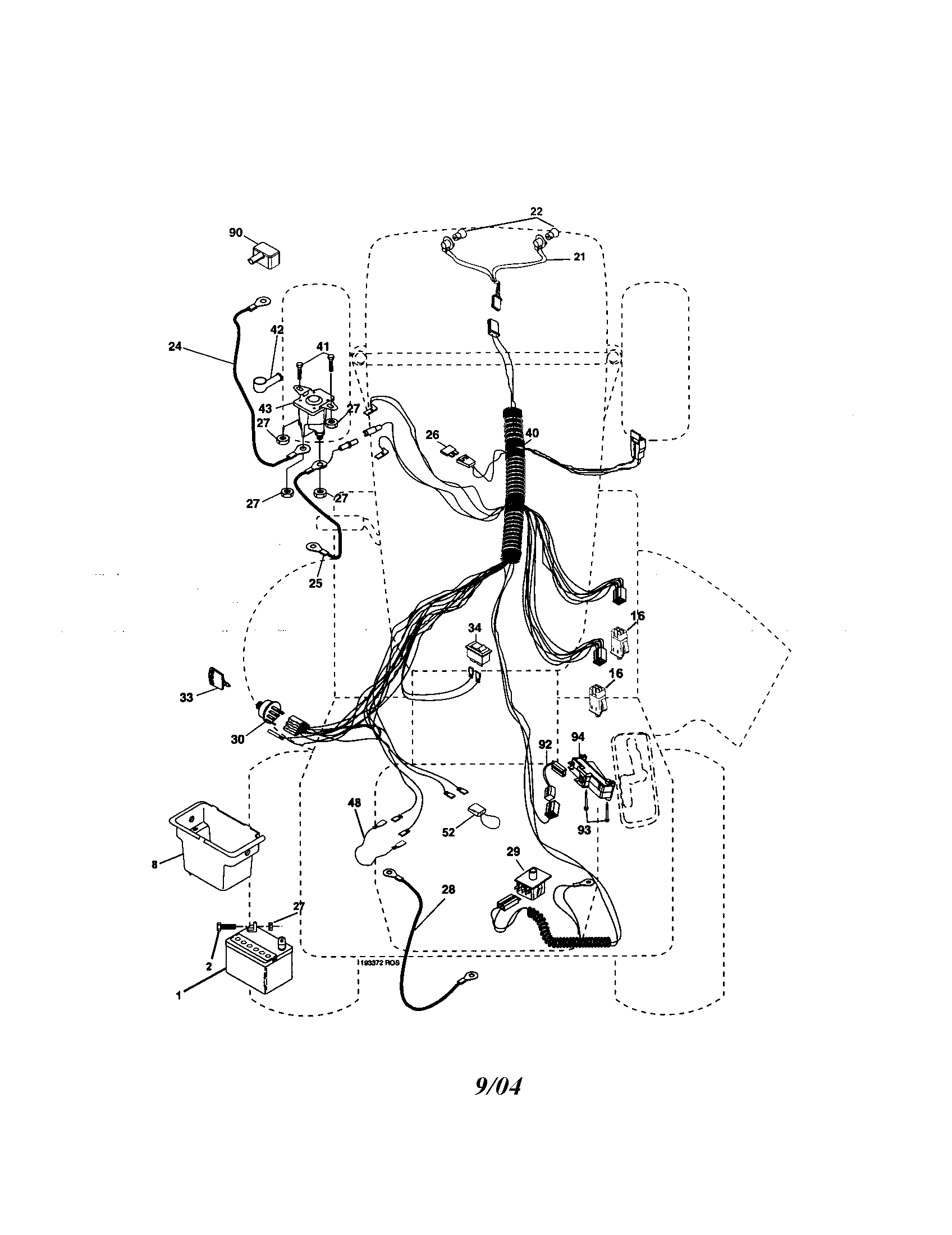
Craftsman 247.288841 (13AJ78SS099) - Craftsman LT2000 Lawn ... Transmission Drive Assembly diagram and repair parts lookup for Craftsman 247.288841 (13AJ78SS099) - Craftsman LT2000 Lawn Tractor (2011) (Sears) The Right Parts, Shipped Fast! ... Wiring Harness (Superseded to 925-04567K) ... annawiringdiagram.com › craftsman-lt2000-wiringCraftsman Lt2000 Wiring Diagram - Wiring Diagram Mar 05, 2020 · Craftsman Lt2000 247 288841 Wiring Diagram In – Wellread – Craftsman Lt2000 Wiring Diagram. Wiring Diagram will come with a number of easy to follow Wiring Diagram Guidelines. It is meant to help all of the average consumer in creating a correct system. These guidelines will be easy to comprehend and apply. Craftsman Lt2000 Carburetor Diagram - schematron.org Craftsman Lt2000 Carburetor Diagram. 26.11.2018. 26.11.2018. 5 Comments. on Craftsman Lt2000 Carburetor Diagram. by an electric starter. The carburetor on a Craftsman lawn tractor mixes the gasoline with air Locate the idle adjustment screw on the side of the carburetor. Did your Craftsman model lawn, tractor break down? Craftsman Lt2000 Wiring Diagram Craftsman Lt2000 Wiring ... This specific image (Craftsman Lt2000 Wiring Diagram Craftsman Lt2000 Wiring Diagram throughout Craftsman Riding Mower Parts Diagram) over is usually branded having: craftsman 42' riding mower parts diagram, craftsman lawn mower parts diagram, craftsman lawn mower parts list, . submitted through CARPNY TEAM on May, 4 2016.

Craftsman Riding Mower Electrical Diagram | Wiring Diagram ...

Craftsman Riding Mower Electrical Diagram | Wiring Diagram ...

faceitsalon.com › craftsman-lt2000-starterCraftsman Lt2000 Starter Solenoid ... - Wiring Diagram Sample Nov 28, 2020 · November 28, 2020 by faceitsalon. Craftsman Lt2000 Starter Solenoid Wiring Diagram – Database. Electrical wiring is a potentially dangerous task if completed improperly. One need to never attempt operating on electrical electrical wiring without knowing the below tips & tricks followed by simply even the most experienced electrician.

Craftsman 247.288851 (13AL78ST099) - Craftsman Lawn Tractor ...

Craftsman 247.288851 (13AL78ST099) - Craftsman Lawn Tractor ...

PDF Craftsman lt2000 drive belt diagram carburetor wiring connection diagram todaysolved I need a carb. Videos on l t 2 0 0 0 b e l t i a g r a m Artisan LT2000 Diagram of parts This site is secure.| Safe search LT2000 Parts diagram LT 2000 Parts View or print the list of Sears Craftsman LT2000 parts. The LT2000 was sold by Sears Company under the Craftsman brand for many years.

Seat Safety Craftsman Disablement

Seat Safety Craftsman Disablement

Basic Wiring Diagram For Riding Lawn Mower - U Wiring Craftsman Lt2000 Wiring Diagram. A wiring diagram usually offers details about the relative. Small engines basic tractor wiring honda lawn mower diagram full toro riding starter switch electrical switches ford 1000 homelite p1104 18 volt mfg murray 405002x8a 2002 diagrams to help you understand walker ignition ongines com john deere d troy bilt ...

MTD 13BL78ST299 (247.288862) (LT2000) (2013) Parts Diagram ...

MTD 13BL78ST299 (247.288862) (LT2000) (2013) Parts Diagram ...

Craftsman Riding Mower Electrical Diagram | Wiring Diagram ... Wiring Diagram for Craftsman Riding Lawn Mower Collection. Craftsman Lt2000 Wiring Diagram - Wiring Diagram Collection. J. Jim. Fix the mower haha. Lawn Mower Repair. Riding Lawn Mowers. Engine Repair. Home Landscaping. Small Engine. Tractors. Modern Design. Engineering. Wire.

Craftsman Lawn Mower Batteries for sale | eBay

Craftsman Lawn Mower Batteries for sale | eBay

I need the wiring diagram for 247.288851. 247288851 ... I need the wiring diagram for 247.288851. 247288851 Craftsman Tractor. Report This by Manage My Life. October 2nd, 2013. ... Craftsman Lawn tractor. Runs for about 20 minutes and then stops running. After it cool for 20 minutes it starts again. I have changed oil, spark ...

SOLVED: No, Need to see a diagram of the springs that are - Fixya

SOLVED: No, Need to see a diagram of the springs that are - Fixya

mainetreasurechest.com › craftsman-lt2000-wiringCraftsman Lt2000 Wiring Diagram Unique | Wiring Diagram Image Sep 23, 2018 · Craftsman Lt2000 Wiring Diagram. Unique- Delightful to be able to the weblog, on this occasion I am going to teach you about craftsman lt2000 wiring diagram. . And after this, this is actually the very first image: Craftsman Lawn Mower Wiring Diagram – Wiring Diagram Collection from craftsman lt2000 wiring diagram , source:galericanna.com.

Solenoid to switch test craftsman lt1000 lt2000 lt4000

Solenoid to switch test craftsman lt1000 lt2000 lt4000

Craftsman Lt2000 247 288841 Wiring Diagram In - Wellread ... Craftsman Lt2000 247 288841 Wiring Diagram In - Wellread - Craftsman Lt2000 Wiring Diagram Uploaded by Anna R. Higginbotham on Saturday, February 9th, 2019 in category Wiring Diagram.. See also Wiring Diagram For Craftsman Lawn Mower Throughout Lt2000 - Tryit - Craftsman Lt2000 Wiring Diagram from Wiring Diagram Topic.. Here we have another image Complex Craftsman Lt2000 Wiring Diagram ...

craftsman lt1000 riding mower parts diagram> OFF-74%

craftsman lt1000 riding mower parts diagram> OFF-74%

wirings-diagram.com › craftsman-lt2000-wiringComplex Craftsman Lt2000 Wiring Diagram Craftsman Lt2000 ... Craftsman Lt2000 Wiring Diagram - 2011 craftsman lt2000 wiring diagram, craftsman lt2000 electrical diagram, craftsman lt2000 solenoid wiring diagram, Every electric structure consists of various different components. Each part should be placed and connected with different parts in specific way. Otherwise, the arrangement won't work as it ought to be.

Small Engines - » Basic Tractor wiring diagram

Small Engines - » Basic Tractor wiring diagram

Craftsman Lawn Mower Wiring Diagram - Wiring Diagram ... Apr 8, 2021 - Craftsman Lt2000 Wiring Diagram . Craftsman Lt2000 Wiring Diagram Unique. Craftsman Lawn Mower Wiring Diagram - Wiring Diagram Collection. Wiring Diagram for Craftsman Riding Lawn Mower Collection. Craftsman Lt2000 Wiring Diagram - Wiring Diagram Collection

K2 Schematic Analysis and Pictorial Diagram - ppt download

K2 Schematic Analysis and Pictorial Diagram - ppt download

Craftsman Wiring and Safety Switches - YouTube Craftsman Wiring and Safety SwitchesQuick video for youtube user, BleachedpcHopefully this will help you out

Wiring Diagram For Lt2000 Riding Lawn Mower Automotive Block ...

Wiring Diagram For Lt2000 Riding Lawn Mower Automotive Block ...

Craftsman Lt1000 Wiring Diagram - easywiring A wiring diagram is a straightforward visual representation in the physical connections and physical layout associated with an electrical system or circuit. Get shopping advice from experts friends and the community. Craftsman lt1000 wiring diagram wiring library craftsman model 917 wiring diagram.

What are the color code for ignition switch block for a ...

What are the color code for ignition switch block for a ...

Craftsman Lt1000 Wiring Diagram - Wiring Diagram Craftsman Model 917271910 Lawn, Tractor Genuine Parts - Craftsman Lt1000 Wiring Diagram. Wiring Diagram contains several comprehensive illustrations that present the connection of various items. It includes instructions and diagrams for different types of wiring strategies and other things like lights, windows, etc.

starter solenoid wiring diagram from battery to solenoid ...

starter solenoid wiring diagram from battery to solenoid ...

Wiring Diagram For Craftsman Riding Mower - Sears LTA Riding Mower Lawn Tractors 46-inch Deck Belt 1/2" x 108.3" for Cub Cadet/Troy-Bilt/Craftsman 954-05022A, XT1 XT2 LT46, LT46. 0. Sold by GrowKart. $37.95.

Craftsman Riding Mower Electrical Diagram | Hello I have a ...

Craftsman Riding Mower Electrical Diagram | Hello I have a ...

Craftsman Lt2000 Mower Drive Belt Diagram - Diagram Niche ... Mower deck craftsman lt2000 diagram belt riding 247 42 drive mtd lawn sears yardman murray diagrams engine lt1000 wiring number. I need the drivebelt routing for white outdoor 42 mower. These craftsman lt 1000 parts are essential to have for the goals that all people may have when getting a quality mower ready.

MTD 13BJ78SS099 (247.288843) (LT2000) (2013) Parts Diagram ...

MTD 13BJ78SS099 (247.288843) (LT2000) (2013) Parts Diagram ...

Craftsman LT2000 Manuals | ManualsLib

Craftsman LT2000 Manuals | ManualsLib

starter solenoid wiring diagram from battery to solenoid ...

starter solenoid wiring diagram from battery to solenoid ...

Craftsman LT4000 No Start | My Tractor Forum

Craftsman LT4000 No Start | My Tractor Forum

Craftsman LT 2000 13AJ77SG699 (2011) Wiring diagram from ...

Craftsman LT 2000 13AJ77SG699 (2011) Wiring diagram from ...

Craftsman Lawn Mower Ignition Switches for sale | eBay

Craftsman Lawn Mower Ignition Switches for sale | eBay

My riding lawn mower wont even turn over. I've looked at ...

My riding lawn mower wont even turn over. I've looked at ...

Craftsman 917275400 front-engine lawn tractor parts | Sears ...

Craftsman 917275400 front-engine lawn tractor parts | Sears ...

Craftsman 247.288843 (13BJ78SS099) - Craftsman LT2000 Lawn ...

Craftsman 247.288843 (13BJ78SS099) - Craftsman LT2000 Lawn ...

I have a 19 hp briggs and stratton twin cylinder craftsman ...

I have a 19 hp briggs and stratton twin cylinder craftsman ...

Craftsman lawn tractor continues to blow fuse as soon as I ...

Craftsman lawn tractor continues to blow fuse as soon as I ...

Craftsman Lawn Mower 917.252560 User Guide | ManualsOnline.com

Craftsman Lawn Mower 917.252560 User Guide | ManualsOnline.com

Sears Lawn Mower 917.25545 User Guide | ManualsOnline.com

Sears Lawn Mower 917.25545 User Guide | ManualsOnline.com

2011 LT2000 drive belt | Tractor Forum

2011 LT2000 drive belt | Tractor Forum

I'm looking for help for a Craftsman LT2000 riding lawnmower ...

I'm looking for help for a Craftsman LT2000 riding lawnmower ...

Riding Mower, Starting System Wiring Diagram - Part 1

Riding Mower, Starting System Wiring Diagram - Part 1

11 Fix the mower haha ideas | craftsman riding lawn mower ...

11 Fix the mower haha ideas | craftsman riding lawn mower ...

cylinder head; cylinder head cover Audi A3/S3/Sportback/qu ...

cylinder head; cylinder head cover Audi A3/S3/Sportback/qu ...

Craftsman Lawn Mower Wiring Diagram – Wiring Diagram ...

Craftsman Lawn Mower Wiring Diagram – Wiring Diagram ...

Craftsman 917273143 front-engine lawn tractor parts | Sears ...

Craftsman 917273143 front-engine lawn tractor parts | Sears ...

7 Wiring diagrams ideas | diagram, electrical diagram, lawn ...

7 Wiring diagrams ideas | diagram, electrical diagram, lawn ...

SEARS Craftsman Lawn Mower - Model 917 255460 by glsense - Issuu

SEARS Craftsman Lawn Mower - Model 917 255460 by glsense - Issuu

CRAFTSMAN 247.288841 OPERATOR'S MANUAL Pdf Download | ManualsLib

CRAFTSMAN 247.288841 OPERATOR'S MANUAL Pdf Download | ManualsLib

0 Response to "37 craftsman lt2000 wiring diagram"

Post a Comment

Iklan Atas Artikel

Iklan Tengah Artikel 1

Iklan Tengah Artikel 2

Iklan Bawah Artikel