39 maytag bravos xl washer parts diagram

Maytag Bravos Washer Parts Diagram Find Maytag® washer, dryer and kitchen appliance replacement parts. Genuine Maytag® replacement parts keep your appliances performing at their best. Shop for OEM high quality Maytag Bravos XL Washer MVWBYW0 repair parts from Parts Dr. Same day $ shipping and free repair help. With over parts and thousands of Washer DIY videos and tutorials ... Amazon.com: maytag bravos washer parts W10396887 W10528947 Washing Machine Hub Kit, Fits for Whirlpool Washer Drive Hub Kit Maytag Bravos Washer Parts, Premium Washer Parts & Accessories. 4.2 out of 5 stars. 113. $9.69. $9. . 69. Under $25.

Maytag MVWX500BW0 Drain Pump - Genuine OEM Maytag MVWX500BW0 Shift Actuator Genuine OEM. $41.89. Over 100 In Stock. Product Description. Shift Actuator for Maytag MVWX500BW0 Washing Machine. Genuine product manufactured by Maytag. **DISCLAIMER** The manufacturer has redesigned this part and it now comes in a black plastic housing with an adapter wire harness.

Maytag bravos xl washer parts diagram

Maytag bravos xl washer parts diagram

Parts of a Washing Machine - Diagram & Pictures | Maytag You can use this washing machine parts diagram to get an idea of where basic parts are located inside a washing machine. Exact locations may vary from top to front load machines, as well as model to model. If you're having an issue with a particular washer part, read the Maytag guide to washer troubleshooting or consult your owner's manual. Maytag bravos washer parts manual - United States ... View the Maytag MVWB880BW Bravos XL manual for free or ask your question to other Maytag MVWB880BW Bravos XL owners. Original, high quality parts for Maytag MVWX700XW2 / Washer in stock and ready to ship today. 365 days to return any part. As the washer dampens and moves the load, the level of the items will settle in the basket. Maytag Bravos Washing Machine Replacement Parts | Fast ... Maytag Washing Machine Clutch. Genuine OEM Part # W10721967 | RC Item # 3319979. Watch Video. $59.81. ADD TO CART. Drive Clutch Kit. This kit has 6 parts; a spring, housing, cam ring, basket drive gear, pulley, and nut. The pulley is driven by the drive belt and the splutch works with the mode shift actuator to operate the washplate and spin ...

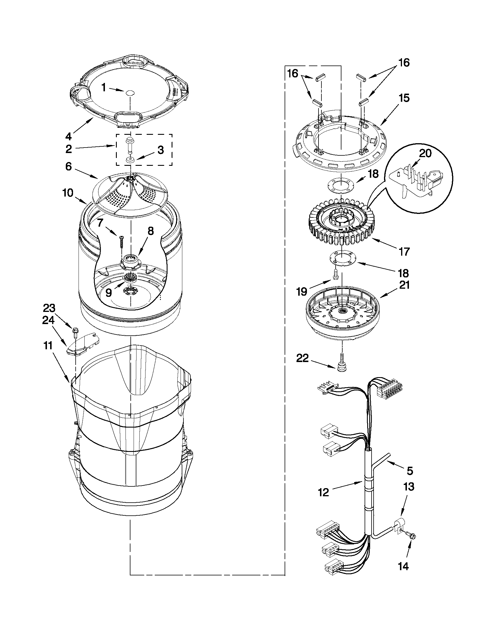
Maytag bravos xl washer parts diagram. Maytag MVWB835DW4 Parts | Reliable Parts Maytag MVWB835DW4 Parts. 01 - Cover Sheet. 02 - Top And Cabinet Parts. 03 - Console And Dispenser Parts. 04 - Motor, Basket And Tub Parts. 05 - Pump Parts. 06 - Optional Parts (not Included) Popular Searches: (Click to search) 2oz accessory affresh and assembly ends hose hoses inlet odor one paint parts remover rubber straight touch two washers ... Parts for MAYTAG BRAVOS XL WASHER - AppliancePartsPros.com Original, high quality parts for MAYTAG BRAVOS XL WASHER in stock and ready to ship today. 365 days to return any part. Maytag Top Load Washer Repair Manuals | Parts King Each manual we provide is divided into sections for parts, diagrams, and assembly instructions. For example, if you need to troubleshoot your washer's control unit, each manual provides a step-by-step assembly instruction to help you every step of the way. Using our Maytag top load repair manual directory, locate your washer's genuine ... Maytag Bravos Washer Repair Guide - Page 4 of 4 ... The Maytag Bravos water supply valve is a very large assembly of six solenoids that direct water through the detergent, bleach, and fabric softener dispensing cups as well as directly into the washer's tub through the "fresh fill" inlet valve. The valve assembly also contains an Auto Temperature Control "ATC" thermistor that detects ...

OEM Maytag Washer Parts [MVWX700XL2] | Repair Videos ... Shop for Maytag Washer MVWX700XL2 repair parts today! Find parts by name, location or by symptoms like shakes and moves & will not agitate. Maytag Bravos Xl Mct Washer User Manual - treecrown Maytag BRAVOS XL MVWB850YW1 Pdf User Manuals. View online or download Maytag BRAVOS XL MVWB850YW1 Use And Care Manual. Maytag bravos mct washer manual PDF may not make exciting reading, but maytag bravos mct washer manual is packed with valuable instructions, information and warnings. We also have many. Maytag Washer Parts Diagram Bravos and Similar Products ... Maytag Bravos Washer Parts Diagram hot diagramweb.net. Genuine Maytag® replacement parts keep your appliances performing at their best. Shop for OEM high quality Maytag Bravos XL Washer MVWBYW0 repair parts from Parts Dr. Same day $ shipping and free repair help. With over parts and thousands of Washer DIY videos and tutorials, we'll or drain water properly, this might be because one of these ... OEM Maytag Washer Parts [MVWB880BW0] | Repair Videos ... Shop for Maytag Washer MVWB880BW0 repair parts today! Find parts by name, location or by symptoms like leaking & noisy.

Appliance Replacement Parts - Maytag Purchase Maytag Brand Genuine Parts. * You will be redirected from the Maytag® Brand website to the website of a vendor which manufactures Maytag® products under license. Look for this logo on our suppliers' websites to ensure you're buying genuine Maytag® replacement parts. Item added to the compare list, you can find it at the end of ... Maytag Bravos Washer Parts List, Read Maytag Washer Dryer Washing machine maytag bravos 850 manual, manual goblin 500 parts. Oem genuine maytag bravos washer control panel 8565355 no control board. View this repair, service your trusty maytag washer suffering from s. Safety tips and some useful tricks such as how to easily drain your tub. Remove any obstructions between the spin basket and the tub. Maytag Washer MVWB835DW4 - Easy Appliance Parts Touch-Up Paint - White. $7.24. In Stock. (4) This 18 ml bottle of white appliance touch-up paint is used to cover scratches or marks on your appliance. The white touch-up paint can be used on refrigerators, microwaves, ranges, clothes dryers, and freezers. This is a genuine OEM part and includes a brush applicator. Maytag Bravos Top Load Washer Lid Lock Wiring Diagram Maytag Bravos Washing Machine Parts - Shop online or call Fast shipping. Washer lid lock. Be aware the manufacturer has updated the part and it is now white and clips into the main top without mounting screws. If the washing machine does not spin the lid lock may be defective. Aug 09, · Bypassing the lid switch is dangerous, so keep that in mind.

How do I get the lid apart (glass lid) on a Maytag Bravos ...

How do I get the lid apart (glass lid) on a Maytag Bravos ...

Maytag Bravos Dryer Parts Diagram | Automotive Parts ... Description: Refrigerators Parts: Maytag Appliance Parts in Maytag Bravos Dryer Parts Diagram, image size 750 X 919 px, and to view image details please click the image.. Truly, we also have been realized that maytag bravos dryer parts diagram is being just about the most popular field at this time. So that we attempted to locate some good maytag bravos dryer parts diagram photo for your needs.

Husqvarna K 970 III Ring (2017-03) Parts Diagram for Air ...

Husqvarna K 970 III Ring (2017-03) Parts Diagram for Air ...

Maytag Bravos Xl Dryer Repair Manual Pdf Recipes MAYTAG BRAVOS WASHER PARTS DIAGRAM. 2019-05-04 · Shop for OEM high quality Maytag Bravos XL Washer MVWBYW0 repair parts from Parts Dr. Same day $ shipping and free repair help. With over parts and thousands of Washer DIY videos and tutorials, we'll or drain water properly, this might be because one of these belts has worn or.Get appliance ...

Control Panel

Control Panel

Maytag Bravos Washer And Dryer Parts for sale | eBay maytag bravos xl washer control board. $55.00. $10.00 shipping. For Maytag Bravos Washer Lid Lock Latch Assy Asy. Part # PR7033625PAMT930. 5 out of 5 stars. (55) 55 product ratings - For Maytag Bravos Washer Lid Lock Latch Assy Asy. Part # PR7033625PAMT930.

Maytag MVWB835DW0 Parts List | Trible's

Maytag MVWB835DW0 Parts List | Trible's

Maytag Bravos Washer Repair Guide - ApplianceAssistant.com Tips & Tricks for the Maytag Bravos Washing Machines. 1. Easy On The Bleach. Even though your washing machine may have a bleach dispenser that doesn't mean you must use it! Bleach and bleach vapors greatly contribute to washing machine rust and corrosion.

Wiring diagram for a Maytag LSE7806ACE washer | Fixitnow.com ...

Wiring diagram for a Maytag LSE7806ACE washer | Fixitnow.com ...

Maytag Washing Machine Parts: Fast Shipping Maytag Washing Machine Door Boot Seal. Item # 1027300. Grid is 1 inch square. Skill Level: Skill Level. Washing machine door boot. If the washer is leaking, the door boot may have a tear in it. Overloading the washer is the most common cause for a torn door boot. OEM Part - Manufacturer #WP8182119.

MAYTAG MTW6300TQ BRAVOS SERVICE MANUAL Pdf Download | ManualsLib

MAYTAG MTW6300TQ BRAVOS SERVICE MANUAL Pdf Download | ManualsLib

Maytag Washer MVWB835DW0 | PartSelect June 24, 2021. Washer makes a howling noisy when spinning at high speed like a bad bearing and is also leaking a lot. Assuming a bad bearing, but could a bad bearing cause a bad leak and if so, could if have damaged the drum to the point that a new bearing installation might not fix the leaking. For model number MVWB835DW0.

Maytag Bravos XL Steam Washer. Gently used and excellent condition!! | eBay

Maytag Bravos XL Steam Washer. Gently used and excellent condition!! | eBay

Maytag Washer Springs and Shock Absorbers - 2 Million+ Parts These parts are the replacement suspension rod supports for your washer. They are made of plastic and are approximately 1 ½ inches in diameter. This package will come with an 8-piece set of suspension rod supports. There are 4 of each type. Be sure to consult the parts diagram for your washer for the complete list of parts included.

Maytag bravo top load washer is stuck in lid lock

Maytag bravo top load washer is stuck in lid lock

Maytag Bravos Mct Washer Parts and Similar Products and ... Maytag Bravos Washer Parts Diagram hot diagramweb.net. Genuine Maytag® replacement parts keep your appliances performing at their best. Shop for OEM high quality Maytag Bravos XL Washer MVWBYW0 repair parts from Parts Dr. Same day $ shipping and free repair help. With over parts and thousands of Washer DIY videos and tutorials, we'll or drain ...

Maytag Bravos Washer/Dryer Review Demo

Maytag Bravos Washer/Dryer Review Demo

MVWB880BW0 Maytag Washer Parts & Free Repair Help ... Appliance: Whirlpool Automatic Washer WTW7800XW2 My Repair & Advice I just replaced the glass lid and broken plastic frame with the all metal one. Call 877 477 7278 for appliancepartspros and order the following Whirlpool parts (prices as of November 2016): 1 lid part number WP8572026 (AP6013408) for $119.81 2 hinges WP8563964 (AP6004844) for $6.17 each 4 screws WPW10119828 (AP6015313) for $1 ...

Maytag Bravos Drive Belt Replacement - iFixit Repair Guide

Maytag Bravos Drive Belt Replacement - iFixit Repair Guide

Appliance Replacement Parts | Maytag Made for Maytag® appliances, our replacement parts are built tough for lasting dependability and help you make repairs quickly so you can get back to cooking and cleaning with the power and performance you expect. Browse our line of Maytag®washer, dryer and kitchen replacement parts by visiting .

Maytag MVWB835DW1 Washer | Partswarehouse

Maytag MVWB835DW1 Washer | Partswarehouse

Maytag MVWB835DW0 washer parts | Sears PartsDirect Maytag MVWB835DW0 washer parts - manufacturer-approved parts for a proper fit every time! We also have installation guides, diagrams and manuals to help you along the way!

Model Search | UCG1600LWW

Model Search | UCG1600LWW

Maytag Bravos Washing Machine Replacement Parts | Fast ... Maytag Washing Machine Clutch. Genuine OEM Part # W10721967 | RC Item # 3319979. Watch Video. $59.81. ADD TO CART. Drive Clutch Kit. This kit has 6 parts; a spring, housing, cam ring, basket drive gear, pulley, and nut. The pulley is driven by the drive belt and the splutch works with the mode shift actuator to operate the washplate and spin ...

Why does my washer come unlevel with every wash - Maytag ...

Why does my washer come unlevel with every wash - Maytag ...

Maytag bravos washer parts manual - United States ... View the Maytag MVWB880BW Bravos XL manual for free or ask your question to other Maytag MVWB880BW Bravos XL owners. Original, high quality parts for Maytag MVWX700XW2 / Washer in stock and ready to ship today. 365 days to return any part. As the washer dampens and moves the load, the level of the items will settle in the basket.

Maytag Washer Parts | Maytag Parts

Maytag Washer Parts | Maytag Parts

Parts of a Washing Machine - Diagram & Pictures | Maytag You can use this washing machine parts diagram to get an idea of where basic parts are located inside a washing machine. Exact locations may vary from top to front load machines, as well as model to model. If you're having an issue with a particular washer part, read the Maytag guide to washer troubleshooting or consult your owner's manual.

Maytag MVWB880BW0 washer parts | Sears PartsDirect

Maytag MVWB880BW0 washer parts | Sears PartsDirect

Parts and plans for Maytag Laundry, Residential, Washer model ...

Parts and plans for Maytag Laundry, Residential, Washer model ...

#Maytag #Bravos #Washer Tub Seal and Bearing Kit Replacement MVWB700VQ0

#Maytag #Bravos #Washer Tub Seal and Bearing Kit Replacement MVWB700VQ0

Maytag MVWX655DW1 washer parts | Sears PartsDirect

Maytag MVWX655DW1 washer parts | Sears PartsDirect

Amazon.com: maytag bravos washer parts

Amazon.com: maytag bravos washer parts

Maytag Bravos Washer Repair Guide

Maytag Bravos Washer Repair Guide

Maytag MVWB850YG1 Drain Pump - Genuine OEM

Maytag MVWB850YG1 Drain Pump - Genuine OEM

Maytag MVWB850YW0 Washer Suspension Rod Assembly - Genuine OEM

Maytag MVWB850YW0 Washer Suspension Rod Assembly - Genuine OEM

Maytag Bravos Dryer Service Manual Download - ApplianceAssistant.com

Maytag Bravos Dryer Service Manual Download - ApplianceAssistant.com

Parts of a Washing Machine - Diagram & Pictures | Maytag

Parts of a Washing Machine - Diagram & Pictures | Maytag

Maytag MVWX655DW0 Parts | Reliable Parts

Maytag MVWX655DW0 Parts | Reliable Parts

Maytag MVWB850YW0 washer parts | Sears PartsDirect

Maytag MVWB850YW0 washer parts | Sears PartsDirect

Maytag A806 Timer - Stove Clocks and Appliance Timers

Maytag A806 Timer - Stove Clocks and Appliance Timers

Tricking a Maytag Bravos Washer - Kenny's Blog

Tricking a Maytag Bravos Washer - Kenny's Blog

MAYTAG MVWB450WQ0 PARTS LIST Pdf Download | ManualsLib

MAYTAG MVWB450WQ0 PARTS LIST Pdf Download | ManualsLib

Whirlpool WTW8240YW0 Parts List | Coast Appliance Parts

Whirlpool WTW8240YW0 Parts List | Coast Appliance Parts

Maytag Washer Repair – How to replace the Water Inlet Valve

Maytag Washer Repair – How to replace the Water Inlet Valve

Maytag Bravos XL 4-cu ft High Efficiency Impeller Top-Load ...

Maytag Bravos XL 4-cu ft High Efficiency Impeller Top-Load ...

Maytag Bravos 4-cu ft High Efficiency Impeller Top-Load ...

Maytag Bravos 4-cu ft High Efficiency Impeller Top-Load ...

Last March I purchased a Maytag 7.3 Bravos XL HE Dryer from ...

Last March I purchased a Maytag 7.3 Bravos XL HE Dryer from ...

FIXED - Maytag Washer MVWC465HW2 Noises on Agitation and Spin ...

FIXED - Maytag Washer MVWC465HW2 Noises on Agitation and Spin ...

W10435302KIT Maytag Bravos Washer Tub Bearing Repair Kit

W10435302KIT Maytag Bravos Washer Tub Bearing Repair Kit

Maytag Washer Belt Replacement Diagram & Repair Transmission

Maytag Washer Belt Replacement Diagram & Repair Transmission

DIY Appliance Repair - Whirlpool Cabrio Noisy Operation - Neli

DIY Appliance Repair - Whirlpool Cabrio Noisy Operation - Neli

Cleaning your Maytag Bravos XL Washer

Cleaning your Maytag Bravos XL Washer

0 Response to "39 maytag bravos xl washer parts diagram"

Post a Comment

Iklan Atas Artikel

Iklan Tengah Artikel 1

Iklan Tengah Artikel 2

Iklan Bawah Artikel